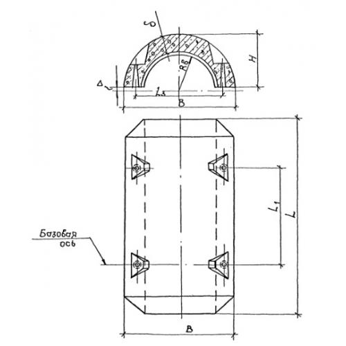
2УТК 325 Утяжелители

Чертеж изделия:
Характеристики изделия:
ПараметрЗначение
длина1200 мм
ширина670 мм
высота320 мм
масса280 кг
нормативный документТУ 102-264-81

2УТК 325 Утяжелители сборные кольцевые по ТУ 102-264-81.