СП 7

Чертеж изделия:
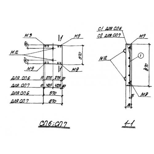
Характеристики изделия:
ПараметрЗначение
длина870 мм
ширина870 мм
высота80 мм
вес150 кг
серияТП 905-7

СП 7 Панели стеновые по проекту ТП 905-7.