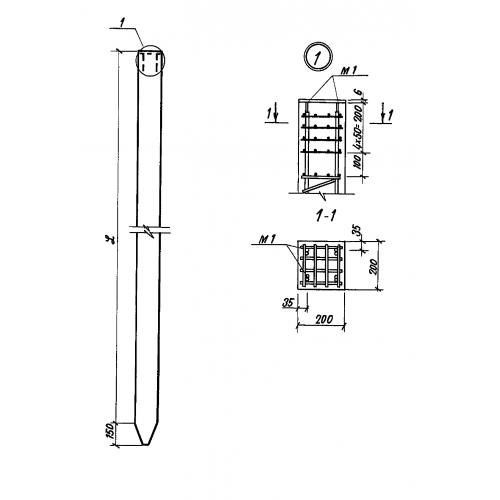
С 4-20 Свая

Чертеж изделия:
Характеристики изделия:
ПараметрЗначение
длина4000 мм
ширина200 мм
высота200 мм
масса425 кг
нормативный документТП 501-07-3.83

С 4-20 Сваи-стойки по Типовому проекту ТП 501-07-3.83.