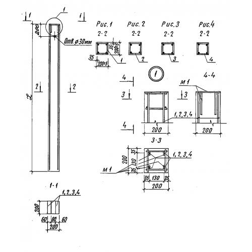
С 35.2 Стойка

Чертеж изделия:
Характеристики изделия:
ПараметрЗначение
длина3500 мм
ширина200 мм
высота200 мм
масса350 кг
нормативный документТП 501-07-3.83

С 35.2  Стойки по Типовому проекту ТП 501-07-3.83.