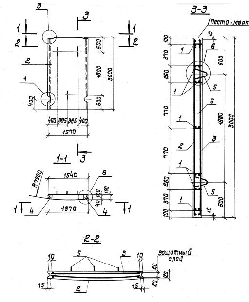
ПСЦ 2-30-1

Чертеж изделия:
Характеристики изделия:
ПараметрЗначение
Длина1570 мм
Ширина160 мм
Высота3000 мм
Масса1700 кг
Нормативный документСерия 3.900.1-11

ПСЦ 2-30-1  по Серии 3.900.1-11 

Панель стеновая для цилиндрических сооружений с радиусом кривизны 7,5 м; высотой 3 м; первого типа по нагрузке.