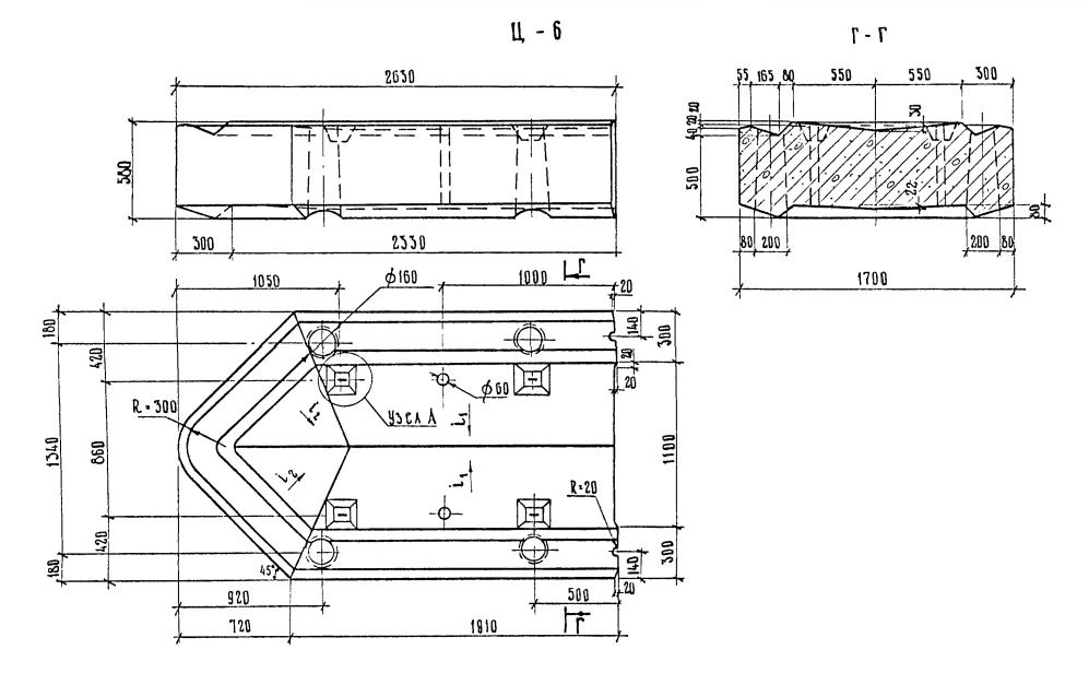
Ц-6

Чертеж изделия:
Характеристики изделия:
ПараметрЗначение
длина2630 мм
ширина1700 мм
высота580 мм
масса4800 кг
нормативный документСерия 3.503-23

Ц-6  Блоки цокольной части Серия 3.503-23.