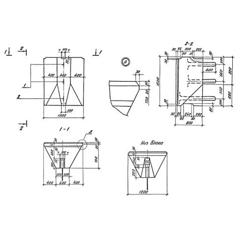
1К 12.15

Чертеж изделия:
Характеристики изделия:
ПараметрЗначение
длина1200 мм
ширина800 мм
высота1500 мм
вес2100 кг
серия3.501.1-150

1К 12.15 Блоки контурные рядовые по серии 3.501.1-150.