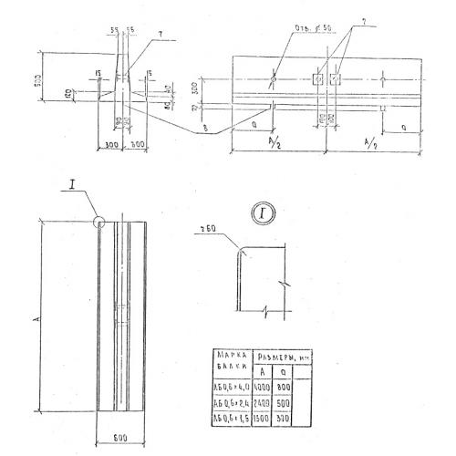
АБ 0.6-2.4 анкерная балка

Чертеж изделия:
Характеристики изделия:
ПараметрЗначение
длина2400 мм
ширина600 мм
высота600 мм
масса800 кг
нормативный документСерия 3.407.9-158

АБ 0.6-2.4   Анкерные балки по Серии 3.407.9-158.