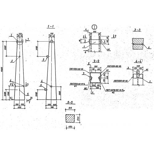
ВС 140-257 Стойки конические прямоугольного сечения

Чертеж изделия:
Характеристики изделия:
ПараметрЗначение
длина14000 мм
ширина510 мм
высота500 мм
масса5150 кг
нормативный документСерия 3.407.1-157

ВС 140-257  Вибропресованные стойки по Серии 3.407.1-157.