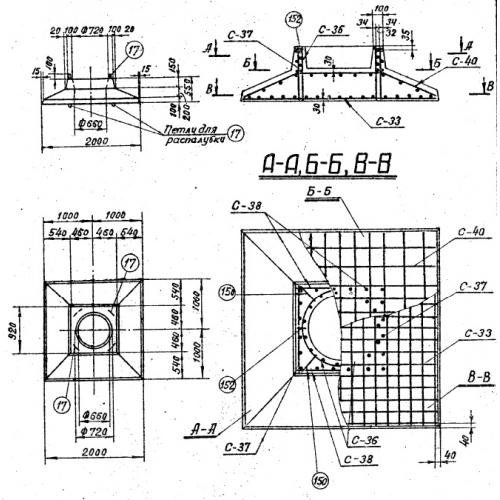
ОП-2 Опорные плиты

Чертеж изделия:
Характеристики изделия:
ПараметрЗначение
длина2000 мм
ширина2000 мм
высота550 мм
масса2400 кг
нормативный документСерия 3.407-115

ОП-2 Опорные плиты под несущие конструкции ЛЭП  Серия 3.407-115.