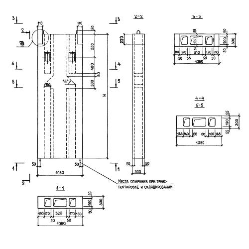
В 11.33

Чертеж изделия:
Характеристики изделия:
ПараметрЗначение
длина1080 мм
ширина300 мм
высота3280 мм
вес852 кг
серия1.234.8-1

В 11.33 Вентиляционные блоки вытяжные поэтажного опирания по серии 1.234.8-1.