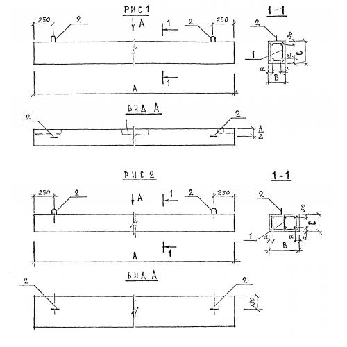
Б 60.19.40

Чертеж изделия:
Характеристики изделия:
ПараметрЗначение
длина5980 мм
ширина190 мм
высота400 мм
вес1135 кг
серия1.126.1 КЛ-1

Б 60.19.40 Балки по серии 1.126.1 КЛ-1.