ПТ 116.17

Чертеж изделия:
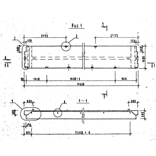
Характеристики изделия:
ПараметрЗначение
длина11650 мм
ширина1680 мм
высота600 мм
вес6170 кг
серия1.042.1-2

ПТ 116.17 Плиты перекрытий тип "Т" по серии 1.042.1-2.