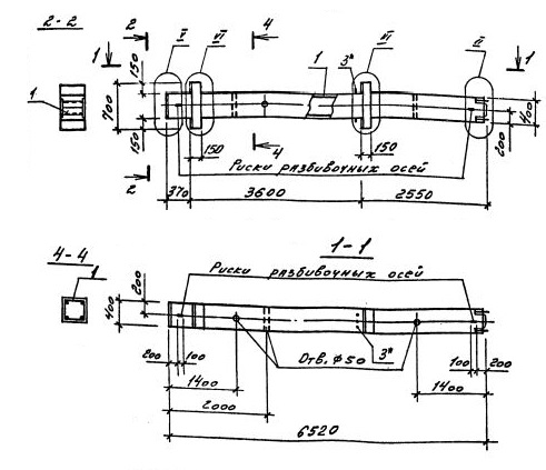
2КВД 36.36-3.28.00
Характеристики изделия:
| Параметр | Значение |
|---|---|
| длина | 6520 мм |
| ширина | 400 мм |
| высота | 700 мм |
| масса | 2700 кг |
| нормативный документ | Серия 1.020.1-4 |
Цена:
Рассчитать стоимость2КВД 36.36-3.28.00 Колонны двухконсольные для верхних этажей (Серия 1.020.1-4).