ПО 18.40 плиты подоконные

Чертеж изделия:
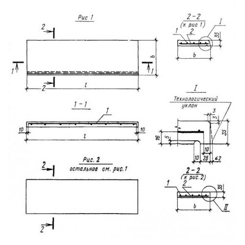
Характеристики изделия:
ПараметрЗначение
длина1820 мм
ширина400 мм
высота35 мм
масса63 кг
нормативный документГОСТ 8484-82

ПО 18.40  Плиты подоконные ГОСТ 8484-82.