ТТ 3

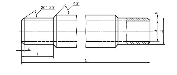
Чертеж изделия:
Характеристики изделия:
ПараметрЗначение
длина3950 мм
ширина168 мм
высота168 мм
масса50,95 кг
нормативный документГОСТ 31416-2009

ТТ 3  Хризотилцементные напорные трубы отопления  ГОСТ 31416-2009.