СЦ 20.3
Характеристики изделия:
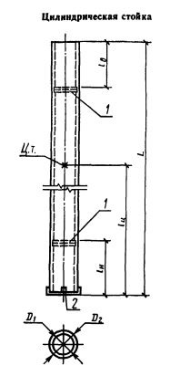
| Параметр | Значение |
|---|---|
| длина | 20000 мм |
| ширина | 800 мм |
| высота | 800 мм |
| масса | 8536 кг |
| нормативный документ | ГОСТ 22687.0-85 |
Цена:
Рассчитать стоимостьСЦ 20.3 Стойки цилиндрические ГОСТ 22687.0-85.
| Параметр | Значение |
|---|---|
| длина | 20000 мм |
| ширина | 800 мм |
| высота | 800 мм |
| масса | 8536 кг |
| нормативный документ | ГОСТ 22687.0-85 |
СЦ 20.3 Стойки цилиндрические ГОСТ 22687.0-85.